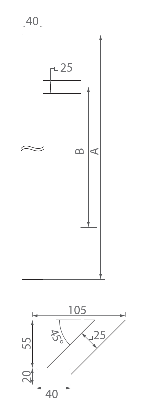
GS-BLACK/M6-20x40-500-45
Pull handle - brushed AISI304, BLACK
€73,74
Unit price
/
Unavailable
without VAT
with VAT
Stock availability
SK Krompachy
5
SK Banská Bystrica
0
SK Bratislava R1
0
Contact
Contact
For more information, please contact our sales:
lubomir.petruska@umakov.sk
+421915093533 +393483490444
